

疏水閥的正確安裝
蒸汽疏水閥的正確安裝十分重要,因為一旦安裝不當,則很有可能出現蒸汽汽鎖、疏水不暢或蒸汽泄漏等問題,影響生產工藝或浪費能源。
疏水閥本體安裝
疏水閥安裝的基本原則是一臺設備安裝一個蒸汽疏水閥,而且閥門須按規定方向安裝。
疏水閥的單元制安裝
盡量不采取多個設備共用一臺疏水閥的疏水方式,這種群組疏水的方式往往導致部分設備疏水不暢、內部積水,嚴重影響設備的正常工作。
假使非得讓多個用汽設備共用一個疏水閥,則應該注意設備后疏水管道和疏水閥的布置。疏水管道口徑要大且需保持一定的坡度,疏水閥應置于中間位置。
多個用汽設備共用一疏水閥時的安裝要求(盡量不采用該種形式)
必須指出的是,疏水閥不可串聯或并聯安裝,因為這樣負荷容易集中到一個疏水閥上,最終導致所有疏水閥壽命均縮短。

a)串聯安裝 b)并聯安裝 c)并聯安裝(其中一疏水閥作備用)d)正確安裝
如若將多臺設備串聯在一起,在最后的設備出口安裝一臺大容量疏水閥進行疏水,不論設備間距離多近都不可行。那樣的話,后面設備就相當于以冷凝水作熱媒,其效率會大幅降低,也易發生水擊(經過專門設計的情形除外)。
設備串聯后再共用同一疏水閥
汽鎖和氣堵
“汽鎖”指的是蒸汽進入疏水閥后引起疏水閥關閉而不能排除后端冷凝水的現象。加熱盤管、筒式干燥機和傾斜式加熱釜等出口疏水閥都易發生汽鎖。
解決汽鎖問題,不僅要改善安裝方式,更重要的是正確選擇疏水閥,比如防汽鎖的倒吊桶式疏水閥就是很好的選擇。
“氣堵”與“汽鎖”相似。若空氣先于冷凝水進入蒸汽疏水閥內,疏水閥關閉,后面冷凝水無法排出,這種現象稱為“氣堵”。對于“氣堵”,倒吊桶疏水閥仍然是很好的選擇。
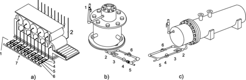
a) 筒式干燥機 b)螺旋式熱交換器 c)多管式熱交換器
疏水閥配管安裝注意事項
疏水閥配管主要包括三個部分,疏水閥入口管、疏水閥出口管、疏水閥旁通管。
疏水閥入口管的裝配應注意:一、將排水點設置在蒸汽使用設備最低處,使得冷凝水徹底排放;二、排水點孔徑應等于或大于所選定容量的蒸汽疏水閥的口徑,減少阻力損失,避免疏水不暢;三、從入口管到蒸汽疏水閥應呈水平向下傾斜安裝,避免蒸汽比冷凝水先到達疏水閥,引發汽鎖;四、入口管不宜過長,而且應盡量減少彎頭,避免汽鎖和減少阻力;五、如若選用熱靜力疏水閥,需在疏水閥入口前留有適當長度的“冷卻段”,保證熱靜力疏水閥工作正常。
疏水閥出口管的裝配應注意:一、出口管沿出口方向應水平向下傾斜安裝,管徑要恰當,而且要盡量少地設置彎頭和避免直角連接;二、疏水閥后要安裝止回閥,防止設備內部壓力降低時冷凝水發生倒流;三、若有集水管的話,疏水閥出口管應從集水管上端接入。
疏水閥進出口管安裝正誤示意圖
疏水閥旁通管的裝配應注意:一般要求水平安裝,如若安裝條件不能滿足,則應當設置成上下方向進行安裝,且旁通管安裝在上側。
旁通管安裝示意圖:a)正確 b)錯誤
疏水閥的防凍
疏水閥有在室內設置,也有在室外設置的。
蒸汽疏水閥安置在室外有諸多缺點:蒸汽疏水閥的入口管長,熱損失較大,有時也發生汽鎖;室外環境下,疏水閥腐蝕嚴重;冬季環境下,室外疏水閥容易發生凍結。因此,盡量將疏水閥安裝在室內。
當疏水閥不得不安裝于室外時,可在疏水閥外部安裝適當的保溫罩或者直接在疏水閥體上安裝保溫夾套,既避免疏水閥凍結,又利于節能環保。

疏水閥外部安裝保溫罩示意